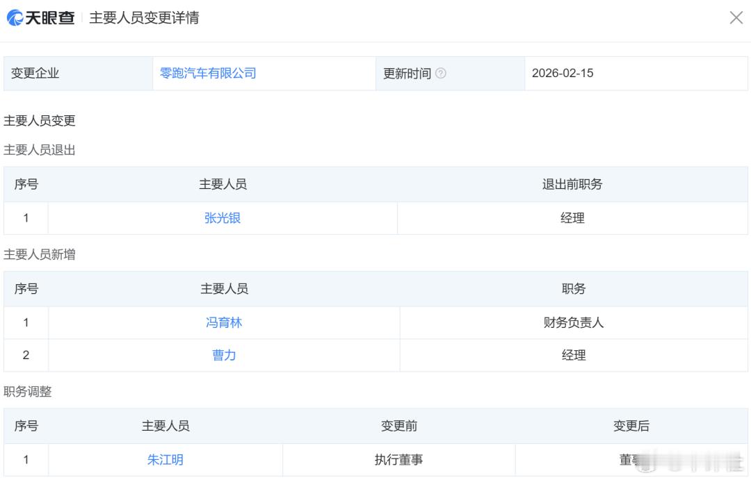
【人事变动!零跑公司工商变更】2月15日,天眼查信息显示,零跑汽车有限公司发生工商变更。天眼查显示,该公司注册资本由47.08亿元增加至55.58亿元,增幅达18%。与此同时,公司多位主要人员也发生变动。张光银卸任该公司经理,由曹力接替;戴永娟同时卸任零跑汽车有限公司的财务负责人,由冯育林接替。另外,朱江明职务由执行董事变更为董事。大v聊车车评观察


【人事变动!零跑公司工商变更】2月15日,天眼查信息显示,零跑汽车有限公司发生工商变更。天眼查显示,该公司注册资本由47.08亿元增加至55.58亿元,增幅达18%。与此同时,公司多位主要人员也发生变动。张光银卸任该公司经理,由曹力接替;戴永娟同时卸任零跑汽车有限公司的财务负责人,由冯育林接替。另外,朱江明职务由执行董事变更为董事。大v聊车车评观察


作者最新文章
热门分类
汽车TOP
汽车最新文章