空客飞机机腹整流罩的柔性封边,能吸收因飞机运动而传递到整流罩上的压缩力和弯曲力。

阿斯通的空翼 2026-02-15 14:15:07

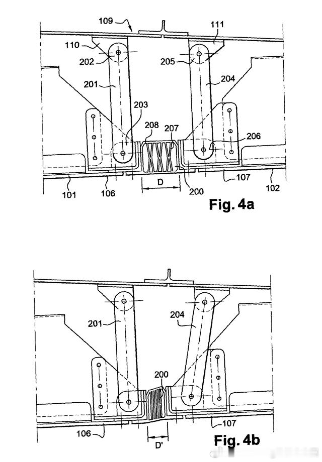
空客飞机机腹整流罩的柔性封边,能吸收因飞机运动而传递到整流罩上的压缩力和弯曲力。为避免封边变形时油漆开裂,因此这里一般不涂漆。航空创作计划

0 阅读:0
阿斯通的空翼

阿斯通的空翼

感谢大家的关注