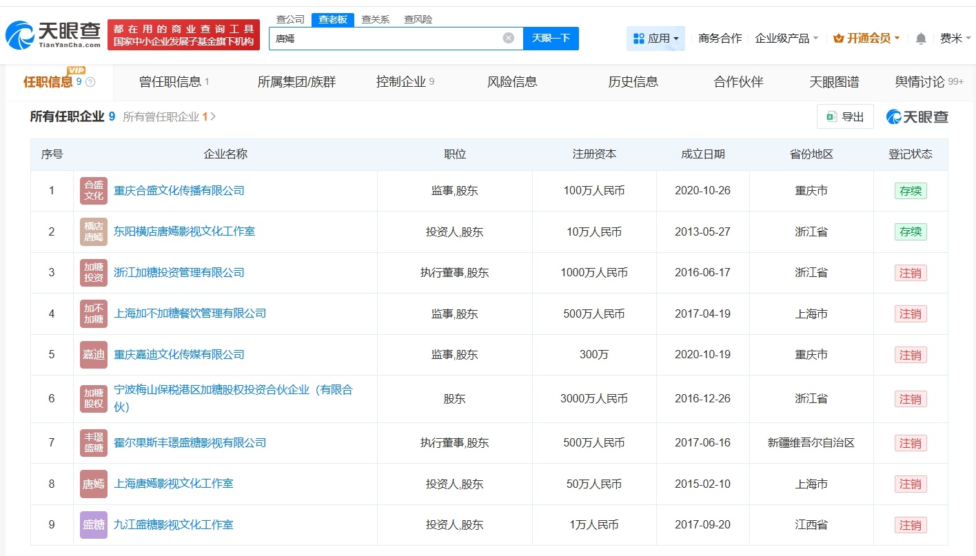
天眼查任职信息显示,唐嫣名下共关联9家企业,其中2家为存续状态,分别是重庆合盛文化传播有限公司、东阳横店唐嫣影视文化工作室,其余7家企业已注销。罗晋名下共关联4家企业,仅罗晋(上海)影视文化工作室为存续状态,其余3家企业已注销。查关系信息显示,唐嫣与罗晋无商业关联。



天眼查任职信息显示,唐嫣名下共关联9家企业,其中2家为存续状态,分别是重庆合盛文化传播有限公司、东阳横店唐嫣影视文化工作室,其余7家企业已注销。罗晋名下共关联4家企业,仅罗晋(上海)影视文化工作室为存续状态,其余3家企业已注销。查关系信息显示,唐嫣与罗晋无商业关联。



猜你喜欢
【1评论】【6点赞】
【19评论】【51点赞】
【1评论】
作者最新文章
热门分类
娱乐TOP
娱乐最新文章