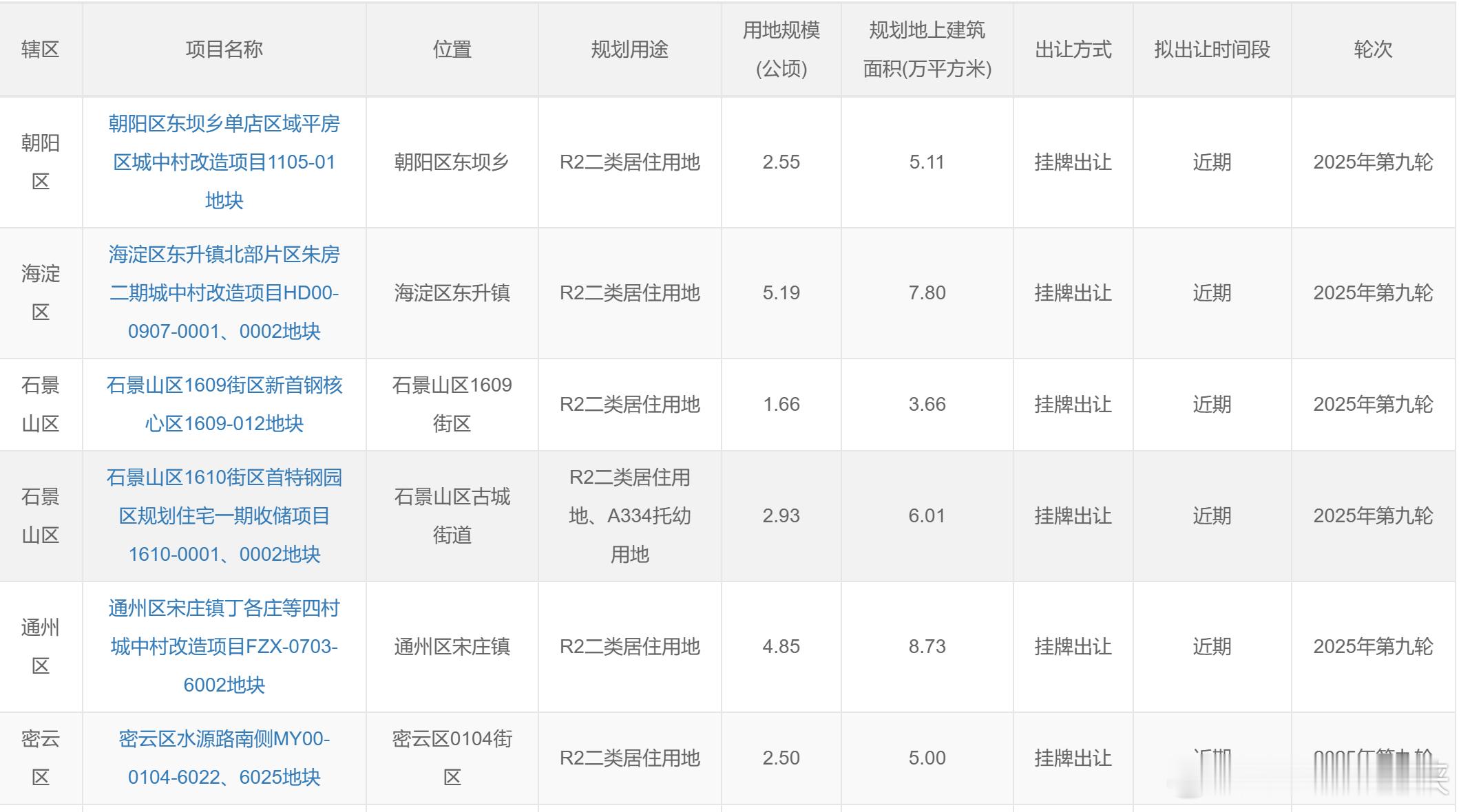
2025年第九轮拟供应商品房住宅清单,共涉及6宗地,土地面积20公顷,建筑规模36万平朝阳区、海淀区、副中心、密云区各1宗,石景山区2宗。朝阳区东坝1105-01地块,用地面积2.55万平,建筑规模5.11万平,容积率2.0。地块临近地铁3号线东坝站和东坝南站,周边有万达广场,金隅嘉品mall,北京市第一中西医结合医院东坝院区海淀区朱房二期01、02地块,用地面积5.19万平,建筑规模7.8万平,容积率仅1.5。地块位于在售项目建发海宴/臻澐的东侧约2.5公里,临近地铁8号线永泰庄站,有清河万象汇、悦茂购物中心、奥林匹克森林公园石景山首钢园核心区012地块,用地面积1.66万平,建筑规模3.68万平,容积率2.2。地块位于在售项目元玺西侧,临地铁11号线首钢园站石景山区1610街道01、02地块,用地面积2.93万平,建筑面积6.01万平,容积率约2.0。地块位于在售项目中海寰宇天下天镜的东南,地块临近地铁1号线、6号线、S1号线的换乘站苹果园站,11号线北辛安站。石景山的两宗地位置比较接近,周边有喜隆多购物中心、京西大悦城、首钢园等副中心通州宋庄6002地块,用地面积4.85万平,建筑规模8.73万平,容积率1.8。地块位于宋庄文化艺术小镇,周边有沃德玛特购物中心,华联购物中心等,地块西北就是北京安贞医院通州院区密云区水源路6022、6025地块,用地面积2.5万平,建筑面积5万平,容积率2.0。位于密云城区在售项目锦云府的旁边,周边设施包括北京密云万象汇和燕塞奥特莱斯购物中心,国泰百货,北京大学第一医院密云院区






